Here’s A Sign That Ferrari May Be Ready To Create Its First Fully Electric Supercar
It appears that Ferrari may finally be ready to throw caution to the wind—or to the electric circuit. A new patent signals that the Italian automaker, which has been slow to embrace electrification, may finally be ready for a fully electric supercar of its own.
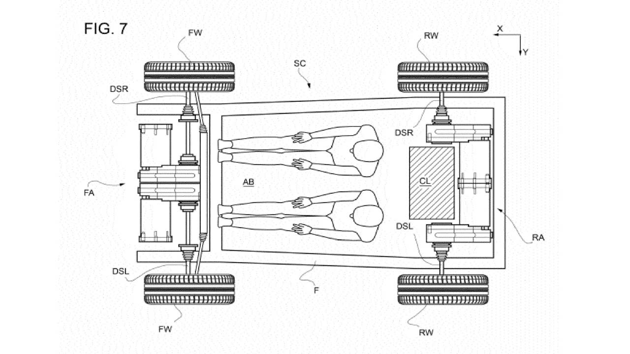
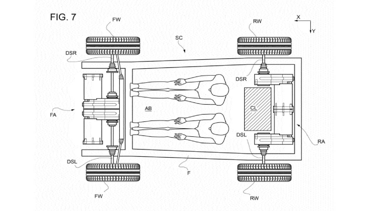
Last July, Ferrari filed a patent application related to EV technology with the European Patent Office, reports CNET. The application, which was published online by the agency last week, hints that the company’s first all-electric vehicle could be a two-seater similar to the upcoming Tesla Roadster.
Included in the application is a series of illustrations that show off the technology, and one appears to offer a peek into what the vehicle might look like. The illustration depicts a two-passenger car with an electric motor connected to each wheel, meaning the EV would be all-wheel-drive. The application mentions that the set up would also work with an internal-combustion engine, so, in theory, the tech could be used for a hybrid sports car.
The marque has made clear that it wouldn’t produce a Prancing Horse EV until the tech had advanced enough to meet its high standards. Last month, the company’s CEO Louis Camilleri told Reuters that drivers shouldn’t expect an all-electric vehicle from the brand until 2025 at the earliest.
“The battery technology is not where it should be yet,” he told reporters at the time. “There are still significant issues in terms of autonomy, in terms of speed of recharging. So eventually we will come out with one. But it’s post-2025. Not in the short term.”
Camilleri went on to say that Ferrari will focus on hybridisation in the meantime. The automaker currently has plans for its entire lineup to be hybrid by 2022. The first step in this push will come later this year, when deliveries of the SF90 Stradale begin. The marque’s first plug-in hybrid also happens to be its most powerful car yet. Powered by a combination of a 4.0-litre V8 combustion engine and three electric motors, the car churns out a staggering 986 horsepower. It can go from 0-to-60 mph in just 2.5 seconds and has a top speed of 211 mph (about 339.572 km/h).

